D-Lásar – til hífinga með skrúfuðum pinna

G-4154

VörunúmerLVÁ
kg (6:1)
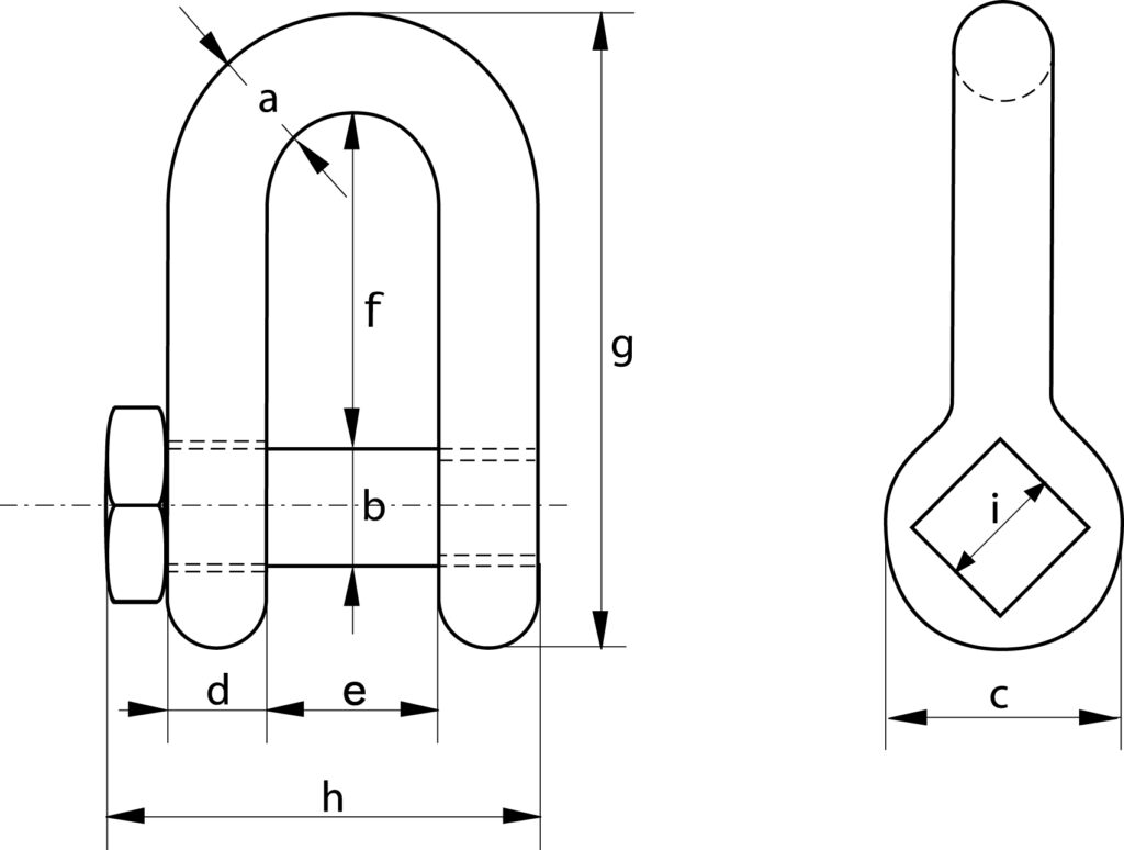
 a
tommur
b
tommur
a
mm
b
mm
c
mm
d
mm
e
mm
f
mm
g
mm
h
mm
i
mm
Þyngd
kg
1709520001/2″5/8″13,516341322438157.5220,32
1709632505/8″3/4″1619401627519771270,58
1709747503/4″7/8″19224619315911282320.92
1709865007/8″1″22255222367313493321,33
1710085001″1 1/8″252859254385154108362,03
1710295001 1/8″1 1/4″283266284790167120412,88
17104120001 1/4″1 3/8″323572325194180137503,96
17106135001 3/8″1 1/2″3538803557115209149505,24
17108170001 1/2″1 5/8″3842883860127230164606,8
17110250001 3/4″2″455010345741492711926011,22
PRENTA