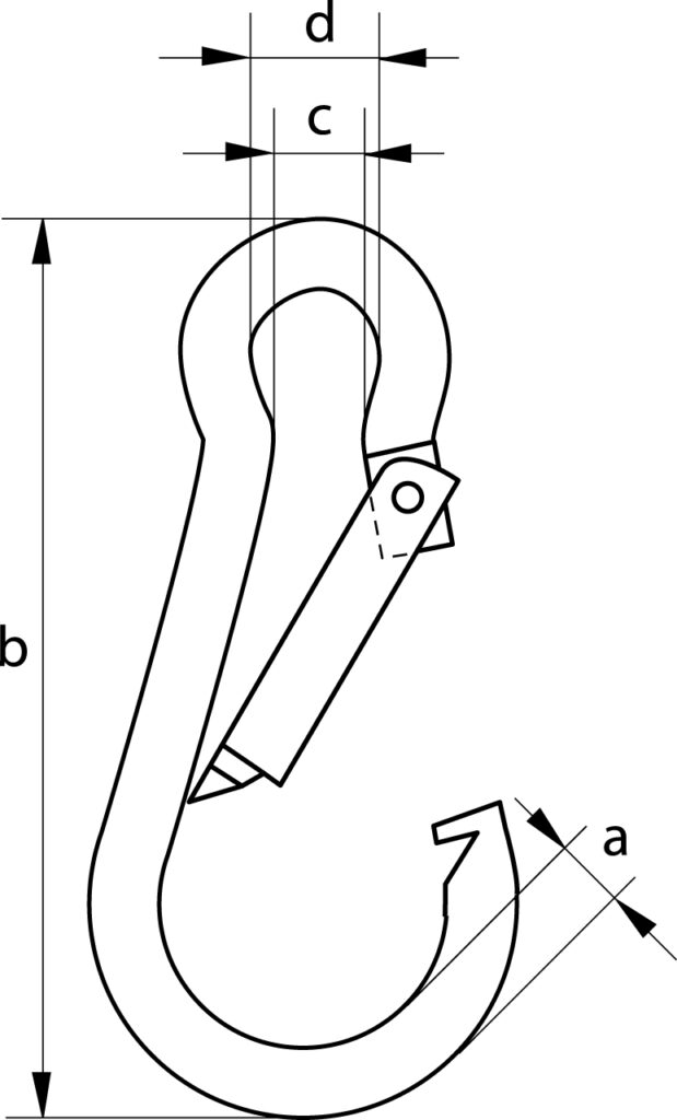
Fjaðurlás – ryðfrír

VörunúmerÞvermál
ø a mm
b
mm
c
mm
d
mm
Brotþol
min kg
240774405770
1729455078110
1011966079132
17296770910198
101208801112330
10123101001215506
10127111201418660
10128121401620748
PRENTA