Við styðjumst við vafrakökur til að vista stillingar og mæla umferð um síðuna. Meira hér Vafraköku stillingar. Með því að loka þessum glugga samþykkir þú notkun þeirra. Hægt er að slökkva á þeim hvenær sem er í stillingum.
OK
Ísfell er leiðandi í hönnun, þróun og sölu á veiðarfærum, sölu á útgerðar-, fiskeldis-, björgunar-, hífi- og fallvarnarlausnum og ýmsum rekstrarvörum.
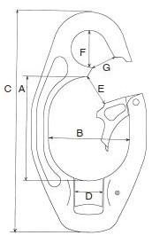
Dragnótarlásar
Dragnótarmanilla
Dyneema Duo 12 þátta - SK 75 með hlífðarkápu