Púllari – UNOplus

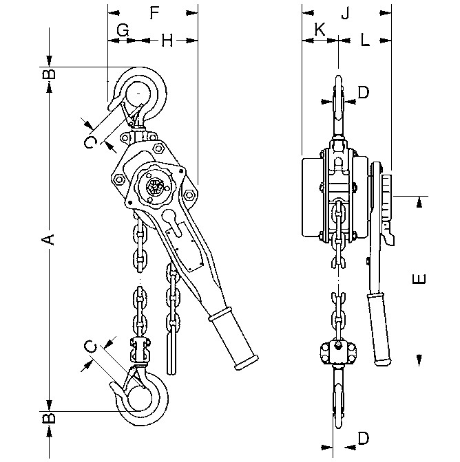
VörunúmerGerðLVÁ kg
(4:1)
Lengd keðjuKeðjaTogkraftur á
handfang undir
fullu vinnuálagi daN
A min
mm
B
mm
C
mm
D
mm
E
mm
F
mm
G
mm
H
mm
J
mm
K
mm
L
mm
Þyngd
kg
10411Yale UNOplus 7501,5Einföld22,0340222616250150708015060907,2
10412Yale UNOplus15001,5Einföld35,041028322133017080901808010012,5

Hægt er að sérpanta Uþnoplus 3.000kg og UNOplus 6.000, ásamt mismunandi lengdum á keðju, nánari upplýsingar veita sölumenn

PRENTA